大律师网 2026-03-31
官宣续约:1250万股股权激励,顶流从“打工人”到“合伙人”
2026年3月27日,港股“艺人经纪第一股”乐华娱乐(02306.HK)的一纸公告,为持续数月的猜测画上句号:公司已完成与旗下核心艺人王一博的独家艺人管理合同续签。这不仅是双方长达十二年合作的延续,更是一次合作模式的彻底升级。
在官宣续约前两天,乐华娱乐已透露出最大的诚意——建议向王一博授出1250万个受限制股份单位,占公司已发行股份约1.51%,认购价仅为每股0.01港元。按当时股价估算,这份“大礼”总价值接近2500万港元。更关键的是,这些股份将分四年逐步解锁,每年释放25%。这意味着,王一博的身份从单纯的“签约艺人”转变为了与公司深度利益绑定的“股东合伙人”。
01、一人撑起半壁江山:王一博的个人IP帝国
乐华为何不惜重金也要留住王一博?答案就藏在他惊人的个人IP价值里。毫不夸张地说,他是乐华娱乐名副其实的“顶梁柱”。
(实在太多了、只能部分列举)
据权威数据统计,2024年,王一博一人贡献了乐华娱乐超过60%的营收;每当市场上出现他可能不续约的传闻,乐华股价便会应声下跌,而续约官宣后,股价立刻回稳上涨。他早已不是公司的“员工”,而是维系公司估值与投资者信心的“定海神针”。
网上也有很多粉丝说,王一博何不自己成立工作室,将收益都作为己用。不过粉丝们也很理解,毕竟我们一博心思根本不在上面,不是在野外,就是在攀岩、或者在赛车等(最近杜华视频号上的“忘了鸭”玩滑板视频,非常怀疑是在diss这位财神爷)。不管怎样,乐华给了王一博很高的自由度、没有强迫营业;目前也没有税务问题。
来张财神爷名场面:
(图片来自:探索新境,侵权删)
这次续约,合作模式发生了根本性变化。王一博将以“主要服务供应商”的身份与乐华协作,其个人工作室保留了充分的自主运营权。续约当日,他同步更新了微博,去掉了“UNIQ”前缀,认证也删除了组合成员标识,新增了个人纪录片《探索新境》作为代表作。这一系列动作清晰地传递出一个信号:未来的合作,将从传统的“经纪管理”转向更灵活、更尊重艺人个人发展的“资源协同”。此次续约体现了很多商业模式与法律问题,比如真金白银的股权激励;比如自己创立工作室可能存在的商业成本/风险与成本/法律风险。本文主要讲一讲“个人IP”问题。
要知道很多艺人曾经因为艺名、商标权、音乐版权等权利不归自己,与经纪公司发生过纠纷;付出过很大代价。
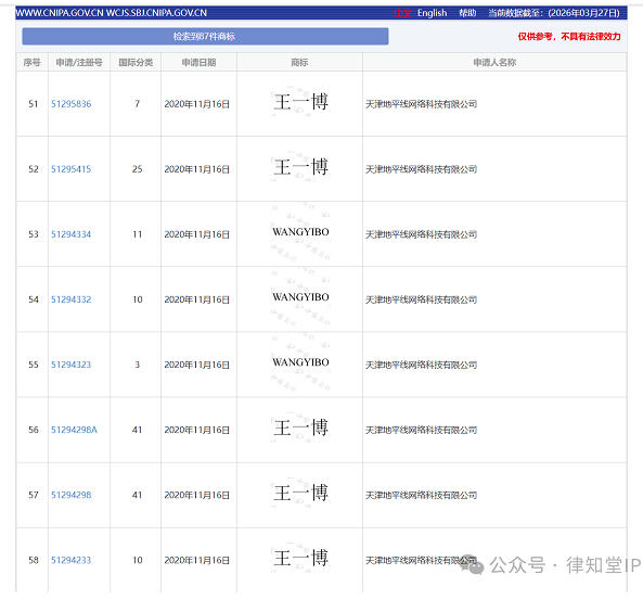
02、王一博的商标版图2020年起,王一博通过其控股70%的天津地平线网络科技有限公司申请商标注册。经查询,截止本文发表当天,天津地平线网络科技有限公司共申请“王一博”、“YIBO"等商标共计87件。
(图片来源:企查查)

(图片来源:中国商标网)
(根据中国商标网公开数据整理)看出来了,这孩子玩归玩,法律意识还是有的。
03、从周杰伦到孟子义:明星个人IP的“升维战争”王一博的IP保护并非孤例,放眼娱乐圈,关于明星个人IP的“升维战争”早已悄然打响。明星们不再满足于做品牌的“代言人”,而是纷纷下场,成为自己IP的“生态运营商”。
(图片来自:WIPO中国微信公众号)
这些案例共同揭示了一个趋势:明星个人IP的竞争,已从比拼流量数据和代言数量的初级阶段,进化到比拼IP的生态构建能力、情感联结深度和长期运营耐力的“升维战争”。
04、你以为上述是标配?NO NO NO,不信往下看:
实际上明星对自己个人IP的保护,是经过了很多血泪教训后,进行的意识提升、升级。比如:
霉霉曾因解约引发与前东家大机器唱片公司的著作权纠纷,直到今年花费约3.6亿美元收回专辑著作权才算画上句号。
后来掌控版权,重新录制旧专辑(《Taylor's Version》系列),拓展至电影(《The Eras Tour》)、品牌联名等领域,构建多元化盈利生态系统,成为全球娱乐产业标杆。WIPO中国还专门发表过文章:《泰勒·斯威夫特的商标战略-艺术家知识产权保护的典范》。
比如邓紫棋与蜂鸟公司解约风暴:欠费违约与版权归属的核心争议。
关键事实: 2019年,邓紫棋单方解约,指控蜂鸟长期拖欠版税、劳务费,并擅自以其姓名注册商标。蜂鸟否认解约,坚称合约至2022年有效。2024年1月,蜂鸟声明拥有邓紫棋103首歌曲的全球独家版权,包括录音、歌曲版权。
核心法律问题:经纪公司根本违约的认定;解约行为的法律效力;解约后原合约中版权归属条款的约束力。
2025年6月,邓紫棋发布重录专辑《I AM GLORIA》,涵盖12首旧作。其团队依据《中华人民共和国著作权法》第四十二条第二款(法定许可),证明原录音制品首次发行时无“禁止使用”声明,并已支付报酬。同时,邓紫棋自14岁起加入香港CASH协会,将作品的公开表演权、广播权、网络传播权等交由协会代为管理。
05、启示录:作为艺人,如何构建可持续的个人IP?没有人能预料流量红利能持续多久,也不能保证与经纪公司就能一直心力一致,艺人们怎么构建自己的IP护城河?从王一博的续约和众多明星IP的探索中,我们可以提炼出几条启示。
首先,商业逻辑正在从“流量变现”转向“价值共生”。过去,明星与品牌、平台之间多是简单的短期代言或雇佣关系。而现在,像王一博获得股权、周杰伦IP与上市公司深度绑定这样的事例表明,基于长期利益共享的生态共同体模式正在成为主流。这种关系更稳固,也更能激发双方共创价值的动力。
其次,成功IP的须从“单一标签”进化到“多维立体”。一个只会演戏的演员,或一个只有流量的偶像,其抗风险能力是脆弱的。王一博的“演员+赛车手+公益大使”身份,周深的“歌手+创意IP主理人”身份,都在不断拓宽其IP的边界和内涵。专业是根基,但跨界破圈带来的丰富性,才是抵御行业周期波动的关键。
再者,IP法律保护至少应当包含商标、著作权等基本范围,并做到提前布局、适当扩延。商标与版权保护战略是最基础的保护手段,每一个精心打造的作品或者商业化标签都值得进行知识产权保护。名称(包含本名、艺名等)、词曲、MV、演唱会、代表作名称,以及周边产品,包括服装、音乐录音、印刷材料、数字内容、吉祥物,甚至家居用品等都是常见的保护客体。提前布局、适当扩延是最经济高效的方式,并需要确保全球保护的一致性。
对于艺人而言,这意味着需要深耕专业,拓宽边界,并与值得信赖的伙伴建立深度、共赢的合作关系。对于经纪公司而言,思维必须从过去的“管理控制”转向“服务赋能”,用创新的合作模式(如股权激励、工作室模式)来绑定核心人才,共同成长。
结语:王一博的续约,一场关于信任与未来的双赢王一博与乐华的这次续约,早已超越了一纸合约的意义。它是一场基于十一年相互成就所建立的深度信任,是一次个人顶级IP与成熟商业平台基于共同未来的战略绑定。期待创作出更多的好作品及合作佳话~
在充满不确定性的娱乐行业,如何超越短期的流量博弈、构建可持续的发展模式也是为企业经营提供了参考范本。寻找能够并肩前行、共享未来的合作伙伴,是抵御风险、赢得未来的强助力。同时也告诉普通人,与优秀者同行、爱好与专业相辅,能够激发更大的潜能。
流量终会退潮,话题终会冷却,但真正有价值的东西,会在时间的长河中沉淀下来,愈发闪亮。王一博的续约,续写的不只是一段合作,更是一个关于长期主义、专业价值和深度信任的行业新叙事。
(图片来源:飞书AI生成)
最后再来一组乐华财神爷表情包收尾,这些熟悉的表情包你认出来了吗?
